Author Topic: 550 airbox hose routing  (Read 4515 times)

0 Members and 1 Guest are viewing this topic.

Offline Sporkfly

  • The frosty rider
  • Hot Shot
  • ***
  • Posts: 727
  • Mmm, Guinness
550 airbox hose routing
« on: July 08, 2010, 05:49:05 AM »
Hey guys,

I'm trying to go back to the stock airbox on my 550. I've gotten most of the parts together, but I'm missing a couple and I need a bit of help with those and assembly.

Here's what I'm missing as far as "major" parts go:


I've found that the plate is still available from Honda (#21) but the spring is not (#5). Does anybody have an extra kicking around?

I'm also missing the various spacers (listed as collars on parts fiche) from the airbox and was wondering what material they were so I could spin up some replacements. As far as assembly, I need some help with routing the hoses as I have never seen how the stock box is setup.
« Last Edit: July 11, 2010, 10:57:37 AM by Sporkfly »
1977 CB550K
1979 GL1000 - Current project, winter '09-'10
1979 CX500
1976 Suzuki GT500 Titan

Offline kerryb

  • Not a very
  • Expert
  • ****
  • Posts: 1,184
  • 78 750k 74 cb550k, '83GL1100 FXSTC, 1979 Wilmac
Re: Pods back to airbox on a 550, missing pieces and assembly
« Reply #1 on: July 08, 2010, 06:03:37 AM »
Sorry I don't have parts for you, but I'll be watching closely "cause I just got a 550 and the airbox is all apart in the parts bin.

intrigued by the wail...seduced by the scream.

Offline gravano

  • Full Member
  • *
  • Posts: 71
Re: Pods back to airbox on a 550, missing pieces and assembly
« Reply #2 on: July 08, 2010, 07:40:02 AM »
I got those parts on ebay -- though I have a 75 CB550f SS and they came from a 74 CB550k?. Not really sure if it's gonna work.
The hardest part for me to find was the air boots. It's not smart to get em used I was told so I had to shop across the pond at David Silver Spares.
They were the most expensive part ($35). I'll keep my eyes open for extras. Good luck.

Offline Sporkfly

  • The frosty rider
  • Hot Shot
  • ***
  • Posts: 727
  • Mmm, Guinness
Re: Pods back to airbox on a 550, missing pieces and assembly
« Reply #3 on: July 09, 2010, 06:22:28 AM »
Anybody want to chime in on hose routing?
1977 CB550K
1979 GL1000 - Current project, winter '09-'10
1979 CX500
1976 Suzuki GT500 Titan

Offline Sporkfly

  • The frosty rider
  • Hot Shot
  • ***
  • Posts: 727
  • Mmm, Guinness
Airbox hose routing
« Reply #4 on: July 11, 2010, 10:57:13 AM »
Please if anybody could just give me a picture or description of the completed setup for the hose routing.

I have tried the search function multiple times with many different search terms. I'm having no luck and I'd like to ride.
1977 CB550K
1979 GL1000 - Current project, winter '09-'10
1979 CX500
1976 Suzuki GT500 Titan

Offline Accolay

  • Hot Shot
  • ***
  • Posts: 709
Re: 550 airbox hose routing
« Reply #5 on: July 11, 2010, 11:03:42 AM »
Do you mean the breather hose?
1977 CB550F

Offline TwoTired

  • Really Old Timer ...
  • *******
  • Posts: 21,802
Re: 550 airbox hose routing
« Reply #6 on: July 11, 2010, 11:08:54 AM »
There are only three hoses.  One from the valve cover to the side of the filter box.
The one from the filter box bottom routes down between the swing arm. The end of this has a cap with a split (looks like a crack) in the end.  It stops air from ingress and allows condensate to escape through the slit.  The cap is pinched for draining at tune up time in case it gets blocked.

The third hose comes off the air plenum chamber.  It is a drain, in the event the carbs overflow gas.  The end of this tube has a very small diameter with a bit of foam stuffed in it.  The reduced diameter limits air ingress, as does the open cell foam.

Cheers,
Lloyd... (SOHC4 #11 Original Mail List)
72 500, 74 550, 75 550K, 75 550F, 76 550F, 77 550F X2, 78 550K, 77 750F X2, 78 750F, 79CX500, 85 700SC, GL1100

Those that learn from history are doomed to repeat it by those that don't learn from history.

Offline Accolay

  • Hot Shot
  • ***
  • Posts: 709
Re: 550 airbox hose routing
« Reply #7 on: July 11, 2010, 11:21:48 AM »
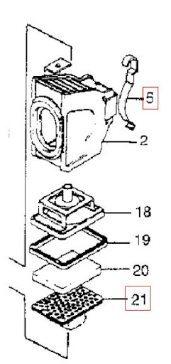
Not the best picture. #6 is the drain tube, and #2 is the breather tube. You can see where the air chamber hose goes at the bottom of #4
« Last Edit: July 25, 2010, 03:18:34 PM by Accolay »
1977 CB550F

Offline Sporkfly

  • The frosty rider
  • Hot Shot
  • ***
  • Posts: 727
  • Mmm, Guinness
Re: 550 airbox hose routing
« Reply #8 on: July 11, 2010, 02:29:31 PM »
Thanks guys, a lot, it's appreciated. I did look in the manual I guess I passed that page up (I feel dumb)

And a big thanks to you, Lloyd, because I've been trying to gather the parts to go back to stock due to all the write ups done on the stock induction system. Almost there!
1977 CB550K
1979 GL1000 - Current project, winter '09-'10
1979 CX500
1976 Suzuki GT500 Titan

Offline elquenada

  • Hot Shot
  • ***
  • Posts: 275
Re: 550 airbox hose routing
« Reply #9 on: July 11, 2010, 05:13:29 PM »
ok I guess I missed something cause I never new the air plenum was supposed to have a drain hose coming from it. ???  Is this something that can be manufactured or will this greatly effect performance?

1975 CB 550

"A veces lo que es contra lo justo
por la misma razón deleita el gusto" 
Lope de Vega

Offline Accolay

  • Hot Shot
  • ***
  • Posts: 709
Re: 550 airbox hose routing
« Reply #10 on: July 11, 2010, 05:21:16 PM »
I'm not sure about performance, but it's around $7 from Honda.
1977 CB550F

Offline elquenada

  • Hot Shot
  • ***
  • Posts: 275
Re: 550 airbox hose routing
« Reply #11 on: July 11, 2010, 05:24:33 PM »
funny i just assumed it would be impossible to buy it separate, didnt even think to check.  I guess I'll just pony up the $7.

thanks for the info
1975 CB 550

"A veces lo que es contra lo justo
por la misma razón deleita el gusto" 
Lope de Vega

Offline SohRon

  • She laughs 'til she cries when they call me an
  • Expert
  • ****
  • Posts: 946
Re: 550 airbox hose routing
« Reply #12 on: July 12, 2010, 05:37:00 AM »
Here are some photos and discussion that may be of assistance. The plenum drain is still available, but not the draing from the airbox. See the text for what to do about this...


Quote
To finish up the carb installation, I added the stock air induction system. I didn't want to re-jet and fiddle with pods, so I'm staying stock. First order of business was to route the carb overflow hoses and get them squared away...


Routing down the engine (One thing to notice, here, is that the white clip goes on above the black clip. I replaced the hoses with a longer set, and misplaced this clip in the process. I corrected this after I took these shots, but didn't take time to get new pics. See the carb shot a couple of posts back for the correct location of this clip)...

...and through the bale on the frame...

Here's the ac housing with all of its little innards inserted. It is marked "CB550-F". Is there a different case for the "K" bikes, or are all of them marked this way? Seems to fit, and I liked it because it shined up so nice and purdy  :D

Here it is with it's little drain "snout" attached. The airbox and air chamber (plenum) both get these. See below for more information regarding these parts

In place on the bike

Routing the drains from the airbox and plenum: airbox on the left with the carb overflow, plenum on the right through the bale

The airbox tube originally had a rubber cap that fit over the end of it with a split that could be pressed open to drain condensation or fuel from the tube. Here is a pic from the Honda shop manual:


While this cap/tube arrangement is no longer available (at least, not that I could find), it has been suggested that a substitute may be made by using the longer plenum drain tube (still available, and the same size and shape tube but without the cap), cutting it to length and adding a plug to the end. If I understand it correctly, the reason for the plug (and the original capped tube) is that we want air coming into the filter from the intake under the seat, not from the road surface. It does make sense. I found a small plastic plug (inset on this pic) that fits tightly enough so it won't fall out, but can be removed for maintanance, and plugged the tube.


Many thanks to Two Tired for helping me understand how this system works. I appreciate this kind of help; none of this is made clear in any of the four (Chilton's, Haynes, Clymer and, of course, the official Honda book) shop manuals I've been using for the restoration. It's these small details that can break a project.

Ron
« Last Edit: July 12, 2010, 10:39:22 AM by SohRon »
"He slipped back down the alley with some roly-poly little bat-faced girl..."

Assembling my '74 CB550: http://forums.sohc4.net/index.php?topic=86697.0
Assembly of the Right-hand Switch (a rebuilder's guide):  http://forums.sohc4.net/index.php?topic=80532.0
Installing stock 4X4 exhaust: CB500-CB550 K: http://forums.sohc4.net/index.php?topic=82323.0
CB550 Assembly Manual: http://forums.sohc4.net/index.php/topic,151576.0.html

Offline jinx2350

  • Full Member
  • *
  • Posts: 37
Re: 550 airbox hose routing
« Reply #13 on: December 04, 2011, 05:00:34 PM »
Hey folks,

I'm know this is an old post, but I'm having issues with this same hose routing business.

Looking for a link to the above quote. Pictures aren't loading, and it would help me a ton to find them. My breather hose is connected to the wrong  intake I believe, and I think it's causing some issues.

Thanks
'77 CB550 - Dirty Gold, sold in 2014
'79 CB650 - Mostly original, doing a bit of a refresh right now.

instagram: acheatham

Offline Scott S

  • Global Moderator
  • Really Old Timer ...
  • *****
  • Posts: 8,252
Re: 550 airbox hose routing
« Reply #14 on: April 15, 2012, 02:06:40 PM »
 I'd love to see pics as well. Trying to remember how the routing on my '78 550K goes..... shoulda taken better notes or more pics.
'71 CB500 K0
'17 Triumph Street Scrambler
'81 Yamaha XS650